Carbure de tungstène bits de forage.

Forages bits de type CS

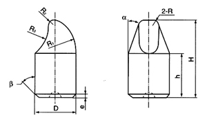
Forages bits de type CS Forages bits de type CS Forages bits de type CS

Carbure de tungstène forage bits de Type CS(Spoon-like Button)

mm

Type
Dimension
Note
D
H
R
R1
R2
R3
h
α
β
e
CS1115
11.0
15.0
2.5
12.0
2.5
8.0
8.0
18o
18o
1.2
G96004
CS1217
12.0
17.0
20.0
2.0
12.0
10.0
G96344
CS1318
13.0
18.0
3.0
15.0
3.0
5.0
11.0
15o
G90342
CS1418
14.0
18.3
16.0
2.5
8.0
9.6
G90344
CS-92001
19.0
2.5
13.0
4.0
5.0
11.0
10o
G92026
CS1519
15.0
3.0
18.0
2.3
9.0
10.0
G90345
CS-96002
16.0
22.5
20.0
2.5
10.0
11.9
1.3
G96299
CS1623
23.0
2.5
23.0
15.0
12.0
15o
1.8
G83125
CS1724
17.0
24.0
3.0
25.0
3.0
13.0
20o
G83655
CS1727
27.0
2.5
28.0
2.5
20.0
14.0
18o
CS-9808
CS1825
18.0
25.5
3.0
23.0
3.0
15.0
13.5
1.4
G92688
CS1929
19.0
29.0
24.0
17.0
17.0
15o
2.0
CS-9806
CS1930
30.0
25.0
?
16.0
2.2
G84241
CS1933
33.0
27.0
?
18.0
1.5
G89312
CS2545
25.0
45.0
4.0
35.0
3.5
30.0
23.0
13o
1.8
G87351

Related Links

Tungsten Carbide Rod
Material Safety Data Sheet of Tungsten Carbide
Material Safety Data Sheet of Tungsten Carbide (PDF)
Catalog of Tungsten Carbide Drilling Bits (PDF)

Language: | český | danske | Nederlands | English | française | Deutsch | italiano | norske | português | român | русский | español | Švédsky | Türk
Email : ebiz@ctia.com.cn  
Copyright©1997 - CTIA E-biz Center All Rights Reserved