Bits de corte de carvão

Carvão corte bits tipo M17

Carvão corte bits tipo M17 Carvão corte bits tipo M17 Carvão corte bits tipo M17
Coal cutting bits type M17

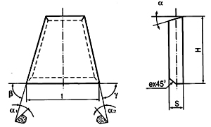
mm

Type
Dimension
Note
H
t
S
α
α1
α2
β
γ
e
M1715
15.0
15.0
3.0
16o
10o
10o
76o
83o
1.0
LS88-012

Related Links

Tungsten Carbide Rod
Material Safety Data Sheet of Tungsten Carbide
Material Safety Data Sheet of Tungsten Carbide (PDF)
Catalog of Tungsten Carbide Coal Cutting Bits (PDF)

Language: | český | danske | Nederlands | English | française | Deutsch | italiano | norske | português | român | русский | español | Švédsky | Türk
Email : ebiz@ctia.com.cn  
Copyright©1997 - CTIA E-biz Center All Rights Reserved