Uhlí, krájení bitů

Uhlí řezání bitů typu M11

Uhlí řezání bitů typu M11 Uhlí řezání bitů typu M11 Uhlí řezání bitů typu M11
Coal cutting bits type M11

mm

Type
Dimension
Note
t
H
h
S
M1113
13.4
26.0
23.8
3.0
S226

mm

Type
Dimension
Note
H
B
C
α
β
γ
δ
a
M11-94001
21.0
15.0
3.0
35o
30o
3o
20o
5.0
G94752

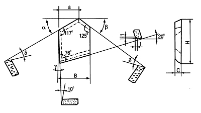
mm

Type
Dimension
Note
H
B
C
α
β
γ
δ
a
M11-94002
21.0
15.0
3.0
30o
35o
3o
20o
16.0
G94753
Language: | český | danske | Nederlands | English | française | Deutsch | italiano | norske | português | român | русский | español | Švédsky | Türk
Email : ebiz@ctia.com.cn  
Copyright©1997 - CTIA E-biz Center All Rights Reserved