Bits de corte de carbón

Bits de corte de carbón tipo M11

Bits de corte de carbón tipo M11 Bits de corte de carbón tipo M11 Bits de corte de carbón tipo M11
Coal cutting bits type M11

mm

Type
Dimension
Note
t
H
h
S
M1113
13.4
26.0
23.8
3.0
S226

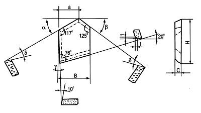
mm

Type
Dimension
Note
H
B
C
α
β
γ
δ
a
M11-94001
21.0
15.0
3.0
35o
30o
3o
20o
5.0
G94752

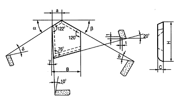
mm

Type
Dimension
Note
H
B
C
α
β
γ
δ
a
M11-94002
21.0
15.0
3.0
30o
35o
3o
20o
16.0
G94753

Related Links

Tungsten Carbide Rod
Material Safety Data Sheet of Tungsten Carbide
Material Safety Data Sheet of Tungsten Carbide (PDF)
Catalog of Tungsten Carbide Coal Cutting Bits (PDF)

Language: | český | danske | Nederlands | English | française | Deutsch | italiano | norske | português | român | русский | español | Švédsky | Türk
Email : ebiz@ctia.com.cn  
Copyright©1997 - CTIA E-biz Center All Rights Reserved