 
  
  
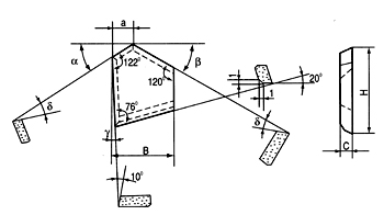
                | Coal cutting bits type M11 | |||||||||||||||||||||||||||||
|   |   | ||||||||||||||||||||||||||||
| mm | |||||||||||||||||||||||||||||
| 
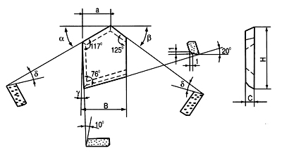
 | |||||||||||||||||||||||||||||
|   |   | ||||||||||||||||||||||||||||
| mm | |||||||||||||||||||||||||||||
| 
 | |||||||||||||||||||||||||||||
|   |   | ||||||||||||||||||||||||||||
| mm | |||||||||||||||||||||||||||||
| 
 | |||||||||||||||||||||||||||||
Tungsten Carbide Rod
Material Safety Data Sheet of Tungsten Carbide
Material Safety Data Sheet of Tungsten Carbide (PDF)
Catalog of Tungsten Carbide Coal Cutting Bits (PDF)