Charbon découpage bits

Charbon découpage bits de type M21

Charbon découpage bits de type M21 Charbon découpage bits de type M21 Charbon découpage bits de type M21
Coal cutting bits type M21

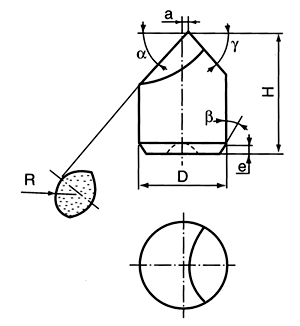
mm

Type
Dimension
Note
D
H
R
α
β
r
a
e
M2110
10.0
18.0
8.0
53o
30o
53o
/
1.0
G87039
M2110A
20.0
5.5
50o
45o
52o
/
S410

Related Links

Tungsten Carbide Rod
Material Safety Data Sheet of Tungsten Carbide
Material Safety Data Sheet of Tungsten Carbide (PDF)
Catalog of Tungsten Carbide Coal Cutting Bits (PDF)

Language: | český | danske | Nederlands | English | française | Deutsch | italiano | norske | português | român | русский | español | Švédsky | Türk
Email : ebiz@ctia.com.cn  
Copyright©1997 - CTIA E-biz Center All Rights Reserved