Charbon découpage bits

Charbon découpage bits de type M24

Charbon découpage bits de type M24 Charbon découpage bits de type M24 Charbon découpage bits de type M24
Coal cutting bits type M24

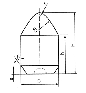
mm

Type
Dimension
Note
D
H
R
γ
h
β
e
M2417
17.0
16.5
26.0
/
15.9
60o
3.9
G87042
M2417A
29.5
1.8
18.9
G08674

Related Links

Tungsten Carbide Rod
Material Safety Data Sheet of Tungsten Carbide
Material Safety Data Sheet of Tungsten Carbide (PDF)
Catalog of Tungsten Carbide Coal Cutting Bits (PDF)

Language: | český | danske | Nederlands | English | française | Deutsch | italiano | norske | português | român | русский | español | Švédsky | Türk
Email : ebiz@ctia.com.cn  
Copyright©1997 - CTIA E-biz Center All Rights Reserved