 
  
  
                
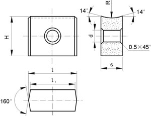
  Indizierbaren SchnellwechselEins?tze Typ ZL
  
Dafür mechanisch eingeklemmt schwere Werkzeuge, geeignet für gro?e Drehmaschinen oder vertikale Drehb?nke
|   |   | 
| 
          Type
         | 
          Dimension(mm) | 
          Approx unit weight(g)  | ||||||||
| 
          l1
         | 
          l
         | 
          d
         | 
          s
         | 
          H
         | 
          R
         | 
          YG6
         | 
          YG8
         | 
          YT5
         | 
          YT14
         | |
| ZL25 | 25.0 | 27.0 | 6.5 | 12.0 | 22.0 | 20.0 | 102.0 | 100.0 | 87.9 | 78.0 | 
| ZI40 | 40.0 | 42.0 | 6.5 | 12.0 | 22.0 | 20.0 | 161.0 | 159.0 | 139.0 | 123.4 | 
Tungsten Carbide Rod
Material Safety Data Sheet of Tungsten Carbide
Material Safety Data Sheet of Tungsten Carbide (PDF)
Catalog of Tungsten Carbide Inserts (PDF)