Kohle schneiden bits

Kohle schneiden Bits Typ M13

Kohle schneiden Bits Typ M13 Kohle schneiden Bits Typ M13 Kohle schneiden Bits Typ M13
Coal cutting bits type M13

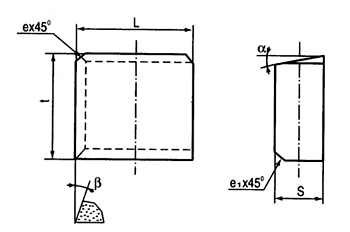
mm

Type
Dimension
Note
L
t
S
α
β
e
e1
M1314
14.0
16.0
6.0
15o
/
/
1.0
G90109
M13-98001
15.0
10.0
3.0
15o
/
/
MP-98001
M1317
17.5
15.5
6.0
10o
10o
1.0
1.0
G81168
M1319
19.0
16.0
8o
1.0
G81169

Related Links

Tungsten Carbide Rod
Material Safety Data Sheet of Tungsten Carbide
Material Safety Data Sheet of Tungsten Carbide (PDF)
Catalog of Tungsten Carbide Coal Cutting Bits (PDF)

Language: | český | danske | Nederlands | English | française | Deutsch | italiano | norske | português | român | русский | español | Švédsky | Türk
Email : ebiz@ctia.com.cn  
Copyright©1997 - CTIA E-biz Center All Rights Reserved