Kohle schneiden bits

Kohle schneiden Bits Typ M15

Kohle schneiden Bits Typ M15 Kohle schneiden Bits Typ M15 Kohle schneiden Bits Typ M15
Coal cutting bits type M15

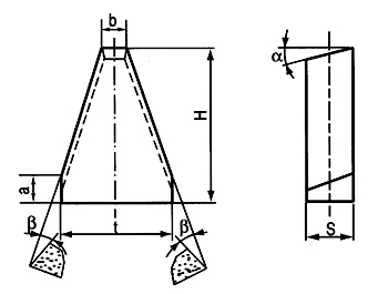
mm

Type
Dimension
Note
H
t
S
a
β
a
b
M1521
26.0
21.0
7.0
6o
6o
6.0
6.0
G85261

Related Links

Tungsten Carbide Rod
Material Safety Data Sheet of Tungsten Carbide
Material Safety Data Sheet of Tungsten Carbide (PDF)
Catalog of Tungsten Carbide Coal Cutting Bits (PDF)

Language: | český | danske | Nederlands | English | française | Deutsch | italiano | norske | português | român | русский | español | Švédsky | Türk
Email : ebiz@ctia.com.cn  
Copyright©1997 - CTIA E-biz Center All Rights Reserved