Kohle schneiden bits

Kohle schneiden Bits Typ M14

Kohle schneiden Bits Typ M14 Kohle schneiden Bits Typ M14 Kohle schneiden Bits Typ M14
Coal cutting bits type M14

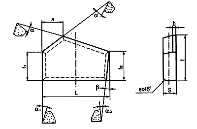
mm

Type
Dimension
Note
L
t
S
a
t1
t2
α
α1
α2
β
b
e
M1425
25.0
15.0
3.0
12.5
10.0
10.0
15o
15o
15o
/
/
/
MP-9804
M1427L
27.5
22.0
4.5
12.0
11.0
15.0
10o
5o
/
2o
/
/
G84246
M1428R
28.0
18.0
8.0
19.0
14.0
16.0
14o
14o
/
/
/
/
G88117
M1443L
43.0
21.0
18.0
12.0
10.0
8o
/
/
/
/
1.0
G83305
M14-77001
23.0
18.2
14.9
12o
12o
/
/
/
/
G7264
M1445L
45.0
27.0
9.0
15.0
18.0
18.0
10o
10o
/
/
/
1.0
X7402
M1445LA
22.5
/
/
/
X7403
M1445R
30.0
/
/
/
X7401

Related Links

Tungsten Carbide Rod
Material Safety Data Sheet of Tungsten Carbide
Material Safety Data Sheet of Tungsten Carbide (PDF)
Catalog of Tungsten Carbide Coal Cutting Bits (PDF)

Language: | český | danske | Nederlands | English | française | Deutsch | italiano | norske | português | român | русский | español | Švédsky | Türk
Email : ebiz@ctia.com.cn  
Copyright©1997 - CTIA E-biz Center All Rights Reserved